
3月19日,每经小编从企查查app查询到,3月18日,因未按执行通知书指定的期间履行生效法律文书确定的给付义务,许家印及中国恒大新增一则限制消费令,涉及借款合同纠纷案件,申请人为湖北银行股份有限公司咸宁分行。

根据法院发布的“限制消费令”显示,咸宁市中级人民法院于2024年01月25日立案执行申请人湖北银行股份有限公司咸宁分行申请执行中国恒大集团借款合同纠纷一案,因中国恒大集团未按执行通知书指定的期间履行生效法律文书确定的给付义务,法院依照相关法律对中国恒大采取限制消费措施,限制中国恒大集团及其法定代表人许家印不得实施相关高消费及非生活和工作必需的消费行为。

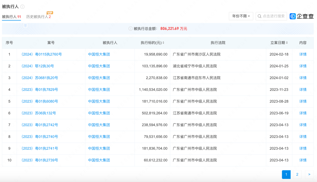
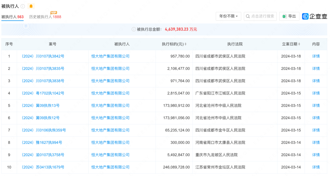
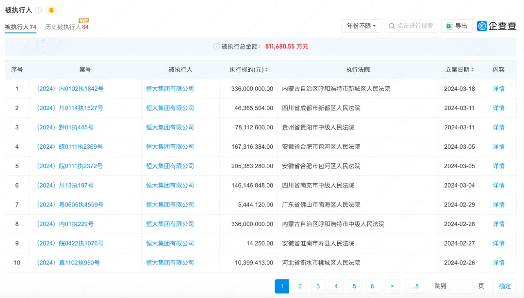
企查查风险信息还显示,中国恒大目前存在11条被执行人信息,被执行总金额超80亿元。此外,恒大地产集团有限公司存在563条被执行人信息,被执行总金额超463亿元,恒大集团有限公司也存在74条被执行人信息,被执行总金额超81亿元。

中国恒大被执行总金额

恒大地产集团被执行总金额

恒大集团被执行总金额
值得关注的是,3月18日晚间,恒大地产发布了关于收到中国证监会(下称“证监会”)行政处罚及市场禁入事先告知书的公告,将对恒大地产、许家印、夏海钧、潘大荣、潘翰翎、柯鹏、甄立涛、钱程进行罚款和市场禁入等行政处罚。

经证监会查明,恒大地产2年虚增收入5600亿;公开发行公司债涉嫌欺诈发行;未按规定及时披露相关信息;财务报告存在虚假记载。
在《事先告知书》中,证监会责令恒大地产改正,给予警告,并处以41.75亿元的罚款;对许家印给予警告,并处以4700万元的罚款;对夏海钧给予警告,并处以1500万元的罚款;对潘大荣、潘翰翎给予警告,并分别处以900万元的罚款;对柯鹏给予警告,并处以300万元的罚款;对甄立涛处以200万元的罚款;对钱程给予警告,并处以20万元的罚款。
公告还指出,许家印决策并组织实施财务造假,手段特别恶劣,情节特别严重,夏海钧组织安排编制虚假财务报告,手段特别恶劣,情节特别严重,根据《证券法》第二百二十一条和2015年《证券市场禁入规定》(证监会令第115号)第三条第一项、第五条第三款的规定,证监会拟决定对许家印、夏海钧采取终身证券市场禁入措施。
恒大地产表示,公司将持续关注上述事项的进展情况,另外就本次处罚放弃陈述、申辩和听证的权利,本次行政处罚最终以中国证监会作出的正式行政处罚及市场禁入决定为准。
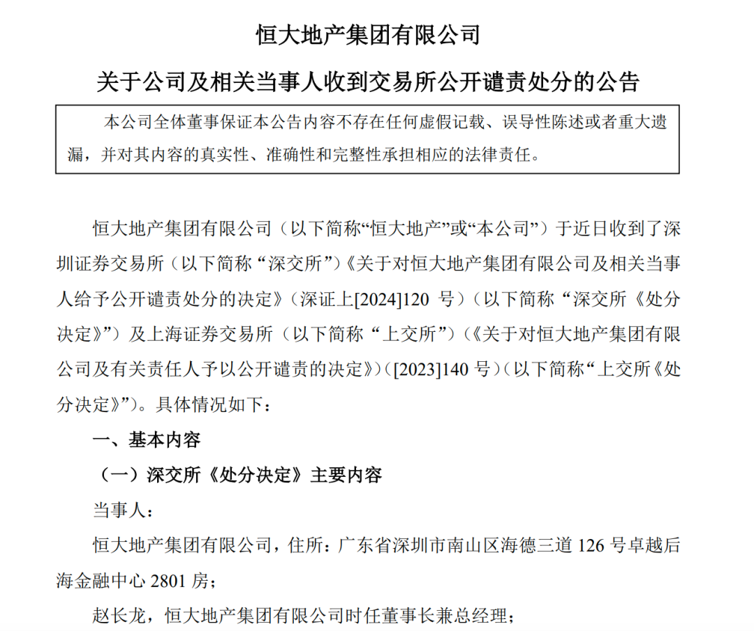
就在上月(12月19日),恒大地产还被深交所、上交所公开谴责。

每日经济新闻综合自企查查、公司公告、每经此前报道在线配资电话
